

Артикул производителя: 932ER190
Характеристики
Бренд | Pagnoni |
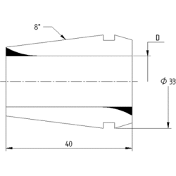
Диаметр зажима | 19 мм - D |
Размер цанги | ER32 |
Цена с учётом НДС
Мы анализируем рынок и гарантируем индивидуальный подход к каждому клиенту
Постоянно следим за новыми технологиями и разработками в области автоматизации производства
География нашей деятельности охватывает всю Россию, с нами удобным и выгодно